تشير براءة اختراع جديدة إلى أن شركة “أبل” تعمل على جهاز آيفون iPhone جديد يحتوي على شاشة زجاجية تدور في كل مكان، وفق صحيفة “ديلي ميل” البريطانية.
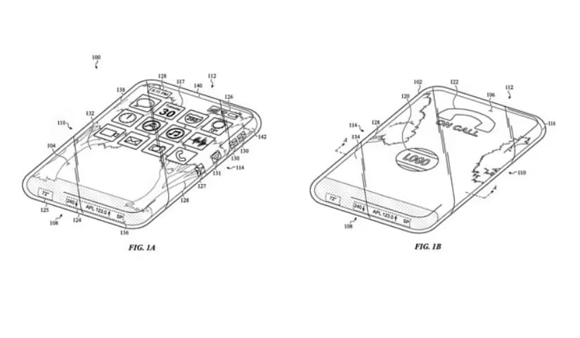
وتُظهر براءة الاختراع، التي يطلق عليها اسم “لوح زجاجي واحد”، جهازًا به شاشات عرض على كل من الأمام والخلف. بالإضافة إلى أزرار شاشة تعمل باللمس على حوافه الزجاجية المنحنية.
ووفق تقرير الصحيفة البريطانية الذي ترجمته (وطن) فإنه من المحتمل أن يزيد تركيب الجزء الخلفي من جهاز iPhone بشاشة زجاجية بزاوية 360 درجة عن ضعف حجم الشاشة، دون تغيير شكل أو حجم الجهاز.
ومن المحتمل أيضا أن يكون لدى مستخدمي آيفون شاشتي عرض مختلفتين في الأمام والخلف. أو بدلاً من ذلك إبقاء شاشة واحدة تواجههم إذا قاموا بإدارتها في أيديهم.
ولفت التقرير إلى أن براءة الاختراع الجديدة، منحت للشركة من قبل مكتب براءات الاختراع والعلامات التجارية في الولايات المتحدة والمدرجة في 16 نوفمبر.
ويمكن أيضًا استخدام الجوانب الزجاجية بالكامل لبرج Apple Watch و Mac Pro في المستقبل.
وتقول شركة آبل إن الجهاز سيظهر “سلسًا بصريًا ولامعًا”، بحيث يبدو الهاتف بأكمله وكأنه مكون من قطعة زجاجية واحدة.
ومن المرجح أن يتم تشكيلها من عدة قطع منفصلة متصلة ببعضها البعض .باستخدام تقنيات تقلل من عدد ورؤية اللحامات بين مكونات الزجاج المختلفة.
وتضيف شركة آبل أن جهاز آيفون القادم قد لا يكون لديه “واجهة” أو “علوية” مخصصة أو يمكن تمييزها بصريًا.
6 شاشات!
وسيحتوي الهاتف على ست شاشات، كما تقول براءة الاختراع – واحدة لكل جانب من حاوية شفافة سداسية الجوانب.
في حين أن هذا يبدو وكأنه صندوق زجاجي، إلا أن الجهاز القادم من حيث الشكل سيظل يشبه إلى حد كبير الهاتف الذكي الحديث.
اثنان من هذه الجوانب الستة سيكونان الأمام والخلف. بينما الأربعة المتبقية ستكون الحواف الأربعة للهاتف.
ومع ذلك، ستحتوي هذه الحواف على شاشات زجاجية أيضًا. مما يوفر عرضًا إضافيًا أو حتى يعرض مجموعة رأسية من التطبيقات التي فتحها المستخدم.
ستظل هناك حاجة إلى أحد الحواف لمكبرات الصوت والمكونات الأخرى.
اقرأ أيضاً: مرحباً بالمستقبل: روبوتات مكان ربة المنزل وسيارات أجرة طائرة في 2036
تشير الرسوم التوضيحية من براءة الاختراع أيضًا إلى أن الحواف ستكون منحنية. كما شوهد آخر مرة مع iPhone 11 في عام 2019.
يتميز iPhone 12 و iPhone 13 في العام الماضي بحوافه المسطحة، على عكس الحواف المنحنية لطرازات iPhone السابقة.
المنتج البريطاني المصمم جوني إيف، والذي عمل في شركة Apple من عام 1992 إلى 2019 ، تحدث سابقًا عن مفهوم iPhone الزجاجي بالكامل، والذي يطلق عليه اسم “لوح زجاجي واحد” . وفقًا لتقارير تعود إلى عام 2016.
وقال موقع Business Insider سابقًا أن “قطع الزجاج الكبيرة هي نوع من الهوس” بالنسبة إلى جوني إيف، الذي ساعد أيضًا في تصميم المقر الرئيسي لشركة Apple في كوبرتينو ، كاليفورنيا.




